留言板

尊敬的读者、作者、审稿人, 关于本刊的投稿、审稿、编辑和出版的任何问题, 您可以本页添加留言。我们将尽快给您答复。谢谢您的支持!

姓名
邮箱
手机号码
标题
留言内容
验证码

基于差分时间数字转换光子计数技术的时域扩散光学成像系统研究

刘欣霖 路光达 秦转萍 郭庭航 刘东远 高峰

刘欣霖, 路光达, 秦转萍, 郭庭航, 刘东远, 高峰. 基于差分时间数字转换光子计数技术的时域扩散光学成像系统研究[J]. 中国光学(中英文). doi: 10.37188/CO.2025-0048
引用本文: 刘欣霖, 路光达, 秦转萍, 郭庭航, 刘东远, 高峰. 基于差分时间数字转换光子计数技术的时域扩散光学成像系统研究[J]. 中国光学(中英文). doi: 10.37188/CO.2025-0048
LIU Xin-lin, LU Guang-da, QIN Zhuan-ping, GUO Ting-hang, LIU Dong-yuan, GAO Feng. A time-domain diffuse optical imaging system based on differential time-to-digital converter photon-counting technology[J]. Chinese Optics. doi: 10.37188/CO.2025-0048
Citation: LIU Xin-lin, LU Guang-da, QIN Zhuan-ping, GUO Ting-hang, LIU Dong-yuan, GAO Feng. A time-domain diffuse optical imaging system based on differential time-to-digital converter photon-counting technology[J]. Chinese Optics. doi: 10.37188/CO.2025-0048

基于差分时间数字转换光子计数技术的时域扩散光学成像系统研究

cstr: 32171.14.CO.2025-0048
基金项目: 国家自然科学基金(No. 62205239,No. 62075156);中国博士后自然科学基金(No. 2023M732600);天津市信息传感与智能控制重点实验室开放基金课题(No. 2023KFJJ02)
详细信息
    作者简介:

    刘欣霖(2000—),男,天津人,硕士,研究生,主要从事光学仪器设计、脑机接口等方面的研究。E-mail:LXL7729@126.com

    路光达(1978—),男,河北保定人,博士,教授,主要从事机器人机械设计、控制算法等方面的研究。E-mail:lugd1229@163.com

    秦转萍(1983—),女,河北邢台人,博士,讲师,主要从事脑机接口、智能医疗机器人等方面的研究。E-mail:qinzhuanping@126.com

    郭庭航(1984—),男,山东济宁人,博士,讲师,主要从事智能检测、人工智能等方面的研究。E-mail: guotinghang@tute.edu.cn

    刘东远(1990—),男,河北廊坊人,博士,助理研究员,主要从事组织光学成像等方面的研究。E-mail:liudongyuan@tju.edu.cn

    高 峰(1963—),男,陕西西安人,博士,教授,主要从事组织光学成像等方面的研究。E-mail:gaofeng@tju.edu.cn

  • 中图分类号: O434

A time-domain diffuse optical imaging system based on differential time-to-digital converter photon-counting technology

Funds: Supported by The National Natural Science Foundation of China (No. 62205239, 62075156); Supported by China Postdoctoral Science Foundation (No. 2023M732600); Open Fund Project of Tianjin Key Laboratory of Information Sensing and Intelligent Control (No. 2023KFJJ02)
More Information
  • 摘要:

    时域扩散光学成像(time domain diffuse optical imaging, TD-DOI)作为一种先进的组织光学成像技术,通过时间相关单光子计数(time-correlated single photon counting, TCSPC)系统可实现生物组织吸收系数与散射系数的定量重建,从而精确评估组织氧代谢、血流灌注等关键生理参数。然而,受限于TCSPC系统固有的硬件复杂性、高成本特性,目前难以实现临床场景下在体多通道动态监测的规模化应用需求。本文发展了一种双通道差分混合触发参考信号策略,通过结合差分时间数字转换(time-to-digital converter, TDC)器件和光子计数技术,构建稳定可靠的时间扩展曲线(time point spread function, TPSF)测量体系,实现了激光同步信号与出射光子信号时间延迟的亚纳秒级精确标定。实验验证数据显示,所发展系统时间分辨率为55 ps,在2.3×104 光子/s计数率条件下,TPSF波动系数可稳定控制在1.35%以内(积分时间1 s)。针对组织仿体的光学参数反演测试表明,组织光学参数反演精度方面,吸收系数与约化散射系数的平均反演误差分别在5.39%和4.34%以内。该技术方案显著提升了TD-DOI多通道并行检测可行性,特别适用于脑皮层血氧饱和度动态监测等生物医学场景,为开发新一代穿戴式光学脑功能成像设备奠定了技术基础。

     

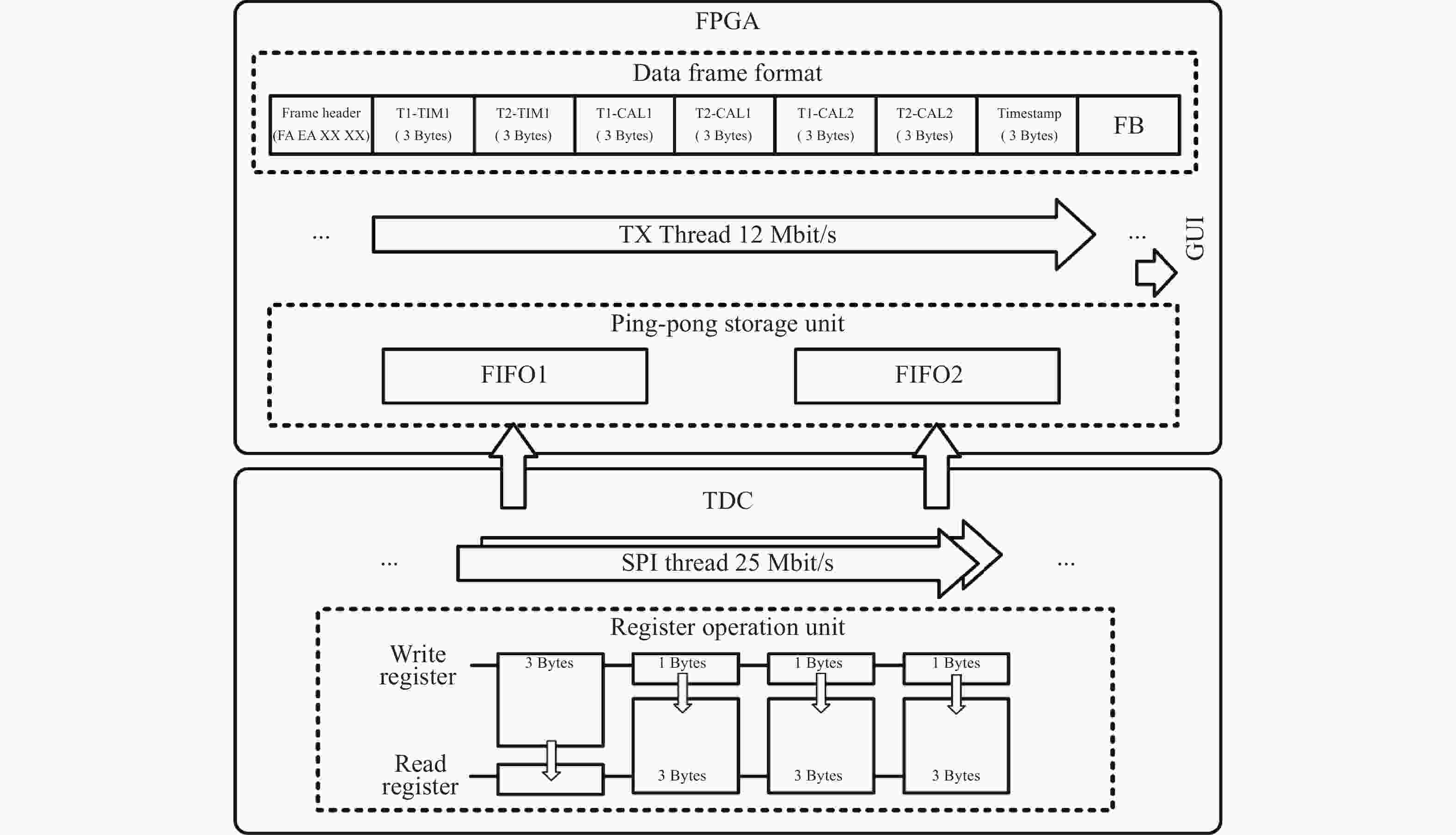
  • 图 1  基于差分TDC光子计数技术的TD-DOI系统设计框架

    Figure 1.  Design framework of TD-DOI system based on differential TDC photon-counting technology

    图 2  测量与传输过程时序图

    Figure 2.  Measurement and transmission process timing diagram

    图 3  双通道差分混合触发策略示意图:(a)通道连接原理框图;(b)测量时序图

    Figure 3.  Schematic diagram of dual-channel differential hybrid triggering strategy: (a) block diagram of channel connection principle; (b) timing diagram

    图 4  基于差分测量信息的时间间隔结果校正流程图

    Figure 4.  Flowchart of time interval result correction based on differential measurement information

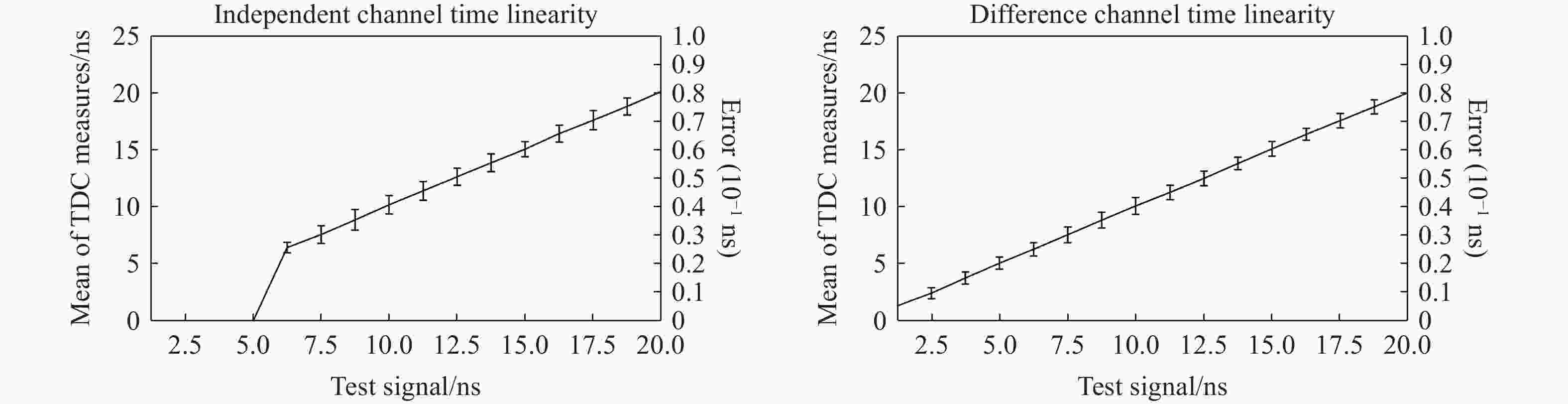
    图 5  标准信号输入时的系统稳定性测试结果

    Figure 5.  Test results of system stability under standard signal input

    图 6  不同源探距离系统时间飞行曲线稳定性对比测试结果:(a)TCSPC 在不同源探距离配置下 TPSF 曲线;(b)TDC 在不同源探距离配置下 TPSF 曲线

    Figure 6.  Comparison test results of stability of time flight curves of different source-to-probe distance systems: (a) The TPSF curves of TCSPC under different source-to-detector distance configurations; (b) The TPSF curve of TDC under different source detection distance configurations

    图 7  系统稳定性能评估测试结果:(a)实验配置图(仿体尺寸:长 85cm;宽 50cm;高 50cm);(b)TCSPC 与TDC 系统的 IRF 曲线特点对比;(c)TDC 在不同配置下 FHWM 及<t>变化规律

    Figure 7.  Results of the evaluation of TPSF stability in the phantom experiment: (a) Experimental configuration diagram (phantom dimensions: 85 cm (L) × 50 cm (W) × 50 cm (H)); (b) Comparison of the of the IRF between TCSPC and the TDC module; (c) Variation of FWHM and <t> of TDC module under different configurations

    图 8  光学参数反演精度对比测试结果:(a)TCSPC(积分时间为 10 s)TDC 系统(积分时间为 20 s)和吸收系数反演结果稳定性及准确性;(b)TCSPC(积分时间为 10s)TDC 系统(积分时间为 20s)和散射系数反演结果稳定性及准确性

    Figure 8.  Comparison test results of optical parameter inversion accuracy: (a) TCSPC (integration time: 10s) TDC system (integration time: 20 s) and the stability and accuracy of the absorption coefficient inversion results; (b) TCSPC (integration time: 10 s) TDC system (integration time: 20s) and the stability and accuracy of the inversion results of the scattering coefficient

  • [1] PAPADIMITRIOU K I, DEMPSEY L A, HEBDEN J C, et al. A spread spectrum approach to time-domain near-infrared diffuse optical imaging using inexpensive optical transceiver modules[J]. Biomedical Optics Express, 2018, 9(6): 2648-2663. doi: 10.1364/BOE.9.002648
    [2] DELPY D T, COPE M, VAN DER ZEE P, et al. Estimation of optical pathlength through tissue from direct time of flight measurement[J]. Physics in Medicine and Biology, 1988, 33(12): 1433-1442. doi: 10.1088/0031-9155/33/12/008
    [3] ALMAJIDY R K, MANKODIYA K, ABTAHI M, et al. A newcomer's guide to functional near infrared spectroscopy experiments[J]. IEEE Reviews in Biomedical Engineering, 2020, 13: 292-308. doi: 10.1109/RBME.2019.2944351
    [4] SONG M, ZHANG Y J, CUI Y, et al. Brain network studies in chronic disorders of consciousness: advances and perspectives[J]. Neuroscience Bulletin, 2018, 34(4): 592-604. doi: 10.1007/s12264-018-0243-5
    [5] YANG L, WABNITZ H, GLADYTZ T, et al. Spatially-enhanced time-domain NIRS for accurate determination of tissue optical properties[J]. Optics Express, 2019, 27(19): 26415-26431. doi: 10.1364/OE.27.026415
    [6] NABACINO M, AMENDOLA C, CONTINI D, et al. Fast multi-distance time-domain NIRS and DCS system for clinical applications[J]. Sensors, 2024, 24(22): 7375. doi: 10.3390/s24227375
    [7] ORTEGA-MARTINEZ A, ROGERS D J, ANDERSON J, et al. How much do time-domain functional near-infrared spectroscopy (fNIRS) moments improve estimation of brain activity over traditional fNIRS?[J]. Neurophotonics, 2023, 10(1): 013504.
    [8] WEI L P, TIAN Y, YAN W R, et al. Liquid-core waveguide TCSPC sensor for high-accuracy fluorescence lifetime analysis[J]. Analytical and Bioanalytical Chemistry, 2019, 411(16): 3641-3652. doi: 10.1007/s00216-019-01847-6
    [9] FARINA S, LABANCA I, ACCONCIA G, et al. A 4.5 Ps precision TCSPC system: design principles and characterization[J]. IEEE Journal of Selected Topics in Quantum Electronics, 2024, 30(1): 3800611.
    [10] CHEKIN Y, DECKER D, DEHGHANI H, et al. Time-domain diffuse optical tomography for precision neuroscience[J]. bioRxiv, 2024: 2024. 04. 30. 591765. (查阅网上资料, 未找到本条文献卷期页码信息, 请确认).
    [11] CHEN H CH. Design and implementation of high linearity FPGA-TDCs and an integrated large scale TCSPC system for time-resolved applications[D]. Glasgow: University of Strathclyde, 2020.
    [12] XIAO D, SAPERMSAP N, SAFAR M, et al. On synthetic instrument response functions of time-correlated single-photon counting based fluorescence lifetime imaging analysis[J]. Frontiers in Physics, 2021, 9: 635645. doi: 10.3389/fphy.2021.635645
    [13] DUBOIS J, DUFFY J G, FIELD R M, et al. A functional neuroimaging biomarker of mild cognitive impairment using TD-fNIRS[J]. npj Dementia, 2025, 1(1): 14. doi: 10.1038/s44400-025-00018-y
    [14] RE R, PIROVANO I, CONTINI D, et al. Reliable fast (20 Hz) acquisition rate by a TD fNIRS device: brain resting-state oscillation studies[J]. Sensors, 2022, 23(1): 196. doi: 10.3390/s23010196
    [15] LI C, LUO Y J, HUANG Y, et al. A low-cost test method for accurate detection of different excited-state species with a lifetime span over 5 orders of magnitude in one time window[J]. Analytical Chemistry, 2023, 95(21): 8150-8155. doi: 10.1021/acs.analchem.3c00319
    [16] DUBOIS J, FIELD R M, JAWHAR S, et al. Reliability of brain metrics derived from a time-domain functional near-infrared spectroscopy system[J]. Scientific Reports, 2024, 14(1): 17500. doi: 10.1038/s41598-024-68555-9
    [17] BAN H Y, BARRETT G M, Borisevich A, et al. Kernel flow: a high channel count scalable TD-fNIRS system[J]. Proceedings of SPIE, 2021, 11663: 116630B.
    [18] BOAS D, VON LÜHMANN A, YÜCEL M, et al. Advances in wearable high density fNIRS and utility for BCI[C]. Proceedings of 2024 12th International Winter Conference on Brain-Computer Interface (BCI), IEEE, 2024: 1-2.
    [19] RE R, CONTINI L, CONTINI D, et al. Cerebral resting state oscillations study with TD fNIRS[C]. Proceedings of European Conference on Biomedical Optics, Optica Publishing Group, 2023: 126280I.
    [20] ZALKE J B, PANDEY S R, NARKHEDE N P. An ultrasonic time-of-flight sensing system based on custom hardware of Time to Digital Converter (TDC) for measurement of glucose concentration[J]. IEEE Sensors Journal, 2024, 24(7): 11136-11143. doi: 10.1109/JSEN.2024.3363763
    [21] MACLEAN J I, STEWART B D, GYONGY I. TDC-less direct time-of-flight imaging using spiking neural networks[J]. IEEE Sensors Journal, 2024, 24(20): 33838-33846. doi: 10.1109/JSEN.2024.3454974
    [22] ARREDONDO-VELÁZQUEZ M, REBOLLEDO-HERRERA L, ZEPEDA-FERNÁNDEZ H, et al. Trimmed-TDL-based TDC architecture for time-of-flight measurements tested on a cyclone V FPGA[J]. IEEE Transactions on Instrumentation and Measurement, 2023, 72: 2003309.
    [23] WU J Y, SHI Z H. The 10-ps wave union TDC: improving FPGA TDC resolution beyond its cell delay[C]. Proceedings of 2008 IEEE Nuclear Science Symposium Conference Record, IEEE, 2008: 3440-3446.
    [24] ADAMIČ M, TROST A. A fast high-resolution time-to-digital converter implemented in a Zynq 7010 SoC[C]. Proceedings of 2019 Austrochip Workshop on Microelectronics (Austrochip), IEEE, 2019: 29-34.
    [25] KIM E J, PARK H S, CHOI W Y, et al. Direct time-of-flight sensor system based on SPAD IC[C]. Proceedings of 2024 IEEE International Conference on Consumer Electronics-Asia (ICCE-Asia), IEEE, 2024: 1-4.
  • 加载中
图(8)
计量
  • 文章访问数:  114
  • HTML全文浏览量:  40
  • PDF下载量:  7
  • 被引次数: 0
出版历程
  • 网络出版日期:  2025-08-26

目录

    /

    返回文章
    返回